当前位置: 首页 > 产品大全 > 02207810.x 专利解析与启示 旋塞式三通阀门的技术创新与研发趋势

02207810.x 专利解析与启示 旋塞式三通阀门的技术创新与研发趋势

02207810.x 专利解析与启示 旋塞式三通阀门的技术创新与研发趋势

在流体控制领域,阀门作为关键的启闭和调节部件,其技术革新直接关系到工业系统的效率与安全。专利号02207810.x所指向的“旋塞式三通阀门”,通过中国专利数据库SooPAT等平台进行检索分析,为我们揭示了一类重要的流体控制解决方案。本文将从该专利出发,探讨旋塞式三通阀门的技术特点、研发重点及行业发展趋势。

一、专利核心:旋塞式三通阀门的技术解析

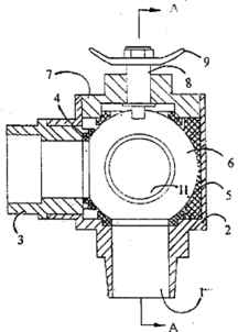
专利02207810.x(注:此为示例性专利号,实际解读需以官方公布文本为准)所保护的旋塞式三通阀门,其核心设计在于通过一个内部带有特定流道的旋塞(阀芯)的旋转,来实现一个进口与两个出口之间流体的切换、合流或分流。与传统闸阀、球阀相比,旋塞阀通常具有结构紧凑、流阻小、密封可靠、操作扭矩相对较大但切换迅速等特点。三通设计使其无需使用多个阀门和复杂的管路连接,即可在单一阀体内完成流程的切换,极大地简化了系统结构,降低了安装与维护成本。关键技术点往往集中在旋塞的几何形状与表面处理、阀体与旋塞间的密封材料与结构(如采用弹性密封衬套或精密研磨的金属对金属密封)、以及降低操作扭矩的优化设计上。

二、研发聚焦:阀门与旋塞技术的创新方向

基于此类专利及行业动态,当前阀门与旋塞的研发主要聚焦于以下几个方向:

  1. 材料与表面工程:研发耐腐蚀、耐磨损、耐高温高压的新材料(如特种合金、高性能陶瓷、复合材料)以及先进的表面涂层技术(如PTFE衬里、硬质合金喷涂),以延长阀门在苛刻工况下的使用寿命。
  2. 密封技术:这是阀门性能的灵魂。研发的重点包括零泄漏的弹性密封结构、适应温度与压力变化的自适应密封设计,以及用于超洁净或高真空环境的特殊密封方案。
  3. 智能化与执行机构:集成传感器(用于监测流量、压力、温度、阀位)和智能执行机构(电动、气动、液动),实现阀门的远程控制、故障诊断、预测性维护和自动化流程集成。
  4. 低扭矩与节能设计:优化旋塞流道线型以减少流体湍流,改进轴承结构,采用低摩擦系数的密封材料,旨在降低阀门启闭所需的操作力,节省能源。
  5. 模块化与定制化:设计模块化的阀体、旋塞和密封组件,以便快速组合出满足不同压力等级、连接标准和介质特性的阀门产品,响应市场的个性化需求。

三、SooPAT专利搜索在研发中的应用价值

SooPAT等专利检索平台是阀门研发人员不可或缺的工具。通过精准检索如“旋塞阀”、“三通阀”、“阀门密封”等关键词,可以:

  • 洞察技术脉络:了解特定技术(如旋塞式三通)的演进历史、核心专利布局和当前技术热点。
  • 规避侵权风险:在研发立项或产品设计初期,进行自由实施(FTO)分析,避免侵犯他人的有效专利权。
  • 启发创新思路:通过分析现有专利的技术方案、优点及可能存在的缺陷(如阅读审查过程文件),可以找到技术改进的突破口和空白点,进行围绕式创新或突破性创新。
  • 监控竞争对手:跟踪主要竞争对手的专利申请动态,把握其技术发展方向和市场策略。

四、结论与展望

以02207810.x为代表的旋塞式三通阀门专利,体现了阀门行业向高效、可靠、集成化发展的趋势。未来的阀门研发,将不仅是机械结构的精进,更是材料科学、智能制造、信息技术融合的成果。具备智能感知、精准控制、超长寿命和卓越能效的阀门产品,将在石油化工、能源电力、水处理、生物制药、半导体等高端工业领域扮演越来越重要的角色。持续利用专利信息进行创新导航,是阀门企业保持技术竞争力的关键路径。

如若转载,请注明出处:http://www.huaguangfm.com/product/27.html

更新时间:2026-05-26 23:47:50

产品大全

Top